EVP-I
Elevador Vertical Pequeñas Alturas
El elevador EVP-I supera desniveles de hasta 1.600 mm, es compacto, seguro y apto para interiores o exteriores. Ideal para personas con movilidad reducida.
- Autonomía con batería interna
- Plataforma con suelo antideslizante
- Sensores de seguridad integrados
- Funcionamiento silencioso y eficiente
Comodidad para ti, tranquilidad para los tuyos
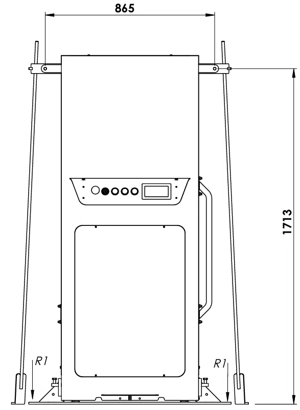
El elevador vertical EVP-I es la solución ideal para salvar desniveles de hasta 1.600 mm, tanto en interiores como en exteriores. Con una capacidad de carga de 340 kg, está diseñado para personas con movilidad reducida, incluyendo usuarios de silla de ruedas. Su diseño compacto y plegable facilita su instalación en espacios reducidos, sin necesidad de foso. Equipado con rampa y brazo de seguridad automáticos, sensores antiaplastamiento y suelo antideslizante, garantiza máxima seguridad y comodidad. Además, cuenta con batería interna para uso en caso de corte eléctrico y cumple con la Directiva de máquinas 2006/42/CE y el Código Técnico de Edificación (DB-SUA/2). El EVP-I es una opción confiable y eficiente para mejorar la accesibilidad en comunidades, viviendas y espacios públicos.
Características técnicas
EVP-I
1. Número de paradas – 2
2. Recorrido max – 1600 mm
3. Tipo de embarque – Frontal y 180°
4. Cabina interior – 800 x 1.250 mm
5. Hueco con rampa – 1.105 x 1.700 mm
6. Foso – No necesario, con rampa
7. Huida mínima – 2.000 mm
8. Brazo de protección – Sí, automático
9. Pared lateral – Sí, en chapa
10. Instalación – Interior
11. Capacidad carga – 340 kg
12. Suelo cabina – Aluminio damero
13. Acabado color – RAL 7035
14. Velocidad – 0,10 m/s
15. Tipo de tracción – Tornillo sin fin
16. Funcionamiento – Pulsación mantenida
17. Puerta superior 1 planta – 800 x 1.100 mm con cristal
18. Baterías – 2 x 12 Vdc
19. Alimentación eléctrica – Monofásica 230 V
20. Normativa – Cumple 2006/42/CE
Instalación express
Con nuestro servicio de instalación inmediata podemos instalar y dejar en funcionamiento su salvaescaleras en tan solo 24 horas desde la confirmación del pedido.
Este producto tiene
Financiación
En su afán por ofrecerle más y mejores servicios que nadie al mejor precio, le ofrecemos la financiación totalmente a su medida, adaptada a su beneficio y bienestar.
Mantenimiento
Le ofrecemos un servicio de mantenimiento totalmente adaptado a sus necesidades, tanto en número de revisiones y cobertura, como en forma de pago.
¡Sin compromiso!
Por favor rellene sus datos y le haremos llegar una solicitud a su medida.





